Yêu cầu đối với thử rơi nhẹ ( chỉ với bình bột chữa cháy ) được qui định tại TIÊU CHUẨN QUỐC GIA TCVN 7026:2013 ISO 7165:2009 CHỮA CHÁY – BÌNH CHỮA CHÁY XÁCH TAY – TÍNH NĂNG VÀ CẤU TẠO
Tiêu chuẩn này quy định các yêu cầu chính để đảm bảo an toàn, độ tin cậy và tính năng của bình chữa cháy xách tay.
Tiêu chuẩn này áp dụng cho bình chữa cháy đã nạp đầy có khối lượng tổng lớn nhất là 20 kg. Cho phép chấp nhận các bình chữa cháy có khối lượng tổng đến 25 kg khi được nạp đầy.
Thử rơi nhẹ (chỉ với bình bột chữa cháy)
- Yêu cầu
Các bình chữa cháy xách tay phải tuân theo các yêu cầu sau sau khi được thử theo quy định trong quy định này; chúng phải:
a) Hoạt động tốt;
b) Bắt đầu phun trong khoảng 5 s sau khi mở van điều khiển;
c) Không được giữ lại quá 15 % lượng nạp ban đầu trong bình chữa cháy sau khi phun hết (lượng phun hết của bình chữa cháy bao gồm chất chữa cháy và khí đẩy).
- Thiết bị thử
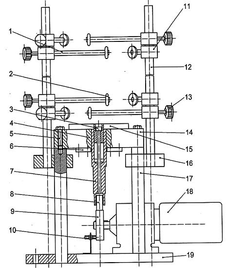
Thiết bị thử phải gồm có một máy gọn, chắc chắn được thiết kế chỉ cho phép tiếp nhận mỗi lúc một bình chữa cháy, bình được nâng lên bằng thanh truyền và dẫn hướng bằng các con lăn.
Tâm đỡ bình chữa cháy phải được bằng thép, hình vuông có cạnh (300 ± 5) mm và chiều dày (60 ± 1) mm. Hình 1 là một ví dụ về thiết bị thử có thể chấp nhận được.
Cần tuân theo các quy định sau:
– Bảo đảm cho thanh truyền điều chỉnh được để điều chỉnh đế của bình chữa cháy;
– Bảo đảm cho thanh truyền có thể chuyển động tự do trong các con lăn dẫn hướng;
– Bình chữa cháy phải được dẫn hướng không có lực cưỡng bức;
– Va đập phải xây ra trên tấm thép và không xảy ra trên thanh truyền;
- Sơ đồ chung
- Hình chiếu nhìn từ trên xuống

- Cam – chi tiết số 9 của Hình 1a


| CHÚ DẪN: | ||
| 1 Trục đỡ con lăn | 8 Con lăn | 15 Khối điều chỉnh |
| 2 Con lăn | 9 Cam, dày 20 mm | 16 Trục đỡ |
| 3 Cl+C vít M12-190 | 10 Bộ cảm biến | 17 Trục đỡ tấm |
| 4 Đai ốc đẩy bình chữa cháy | 11 Dẫn hướng quay | 18 Động cơ hộp số Flender-Himmel |
| 5 Vít M, M16-90 | 12 Trục | |
| 6 Tấm | 13 Đai ốc của con lăn | 19 Tấm đỡ hệ thống |
| 7 Pittông | 14 Tấm đỡ |
Hình 1 – Máy thử rơi nhẹ
- Phương pháp thử
Nếu không có quy định khác cho phép thử riêng biệt này, tiến hành thử nghiệm ở nhiệt độ 20 oC ± 5o C.
Lưu giữ bình chữa cháy xách tay để thử nhiệt độ 20 oC ± 5o C trong thời gian ít nhất là 18h trước khi thực hiện các thử nghiệm và duy trì nhiệt độ trong phạm vi này tới khi thử.
Giữ một bình chữa cháy đã được nạp bình thường ở vị trí thẳng đứng và cho bình rơi thẳng đứng 500 lần từ độ cao 15 mm với tần số 1Hz trên tấm thép vững chắc, nằm ngang.
Tháo bình chữa cháy khỏi thiết bị thử sao cho bình lắc ở mức tối thiểu, giữ bình ở vị trí làm việc bình thường và cho bình hoạt động.
Đối với bình chữa cháy có chai khí đẩy, mở thông chai khí đẩy và cho phép tạo ra áp suất trong 6 s trước khi mở van điều khiển.
Mong rằng sự tư vấn của bộ phận tư vấn an toàn sẽ giúp bạn lựa chọn phương án thích hợp nhất để giải quyết những vướng mắc của mình. Vui lòng liên hệ Tổng đài tư vấn pháp luật miễn phí 1900 0340 để nhận được ý kiến tư vấn chính xác nhất.
–
Nếu quý vị cần thêm thông tin thì vui lòng liên hệ Trung tâm ứng phó sự cố môi trường
Hotline: 1900 0340 | Tel: 0903 063 599 (Ms Vân)
Email: trungtam@ungphosuco.vn
Các khóa học cấp chứng chỉ và tập huấn an toàn lao động
